管道电伴热控制监测系统将广泛应用在消防管道、泵体、阀门、槽池及罐体容器的伴热、防冻和防凝等电伴热系统中。另外在交通、石油、化工、电力、医药、机械、食品、船舶等领域中,都可发挥巨大的作用??捎胂衷诘牡绨槿认低呈迪至苏嬲闹悄艿骺?。 真正做到了安全、节能、可靠等无人值守。
在原先温控智能化的配电箱内部增加了智能温控仪,是采用微电脑控制与热电阻配套使用的新型温控仪,多种参数可在面板键入,可实现位式控制、PID控制等多种控制规律,特别是采用了zj****自整定式控制方法,可在线对控制参数进行zj****自整定,控温精度高,适用范围广,可用于我们公司生产的各种电伴热需自动控制温度的场合,相关就技术指标要求如下
技术指标:
配用传感器分度号及zui大测量范围:P t100 (-200~+600)℃、测量误差:±1.0 % F·S±1b二档 ;配热电偶附加冷端补偿误差:≤±2℃
输出类型:触点开关式,电平式(控制固态继电器,可控硅),无触点开关式,
定时功能:0~9999分钟(可选有或无)
通讯功能:RS485通讯(可选有或无)
工作电源:(187~242)VAC/(50±2)Hz,功耗<5W
工作环境:温度(0~50)℃,相对湿度≤85%RH,无腐蚀性及无强电磁场辐射场合,如果有就做成防爆型电箱。
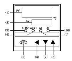
温控面板说明:

(1)测量值显示窗 (6)移位键(启动/停止键)
(2)设定值显示窗 (7)减数键
(3)报警2指示灯 (8)加数键(自整定键)
(4)报警1指示灯 (9)自整定指示灯
(5)设定键 (10)主控输出指示灯
技术要求:
1.电伴热材料的应用须***符合电气规范要求
2.电伴热防冻智能防冻控制技术要符合热工设计
3.电伴热控制和配电须有:温度调节、漏电?;?、接地?;?、过流过压?;?br/> 4.确保电伴热冬季处于运行待命状态、运行结束后确保系统运行关闭



